石头科技获得实用新型专利授权:“一种可拆卸清洁件、清洁装置及清洁系统”
证券之星消息,根据天眼查APP数据显示石头科技(688169)新获得一项实用新型专利授权,专利名为“一种可拆卸清洁件、清洁装置及清洁系统”,专利申请号为CN202421526220.3,授权日为2025年9月16日。

图片来源于网络,如有侵权,请联系删除
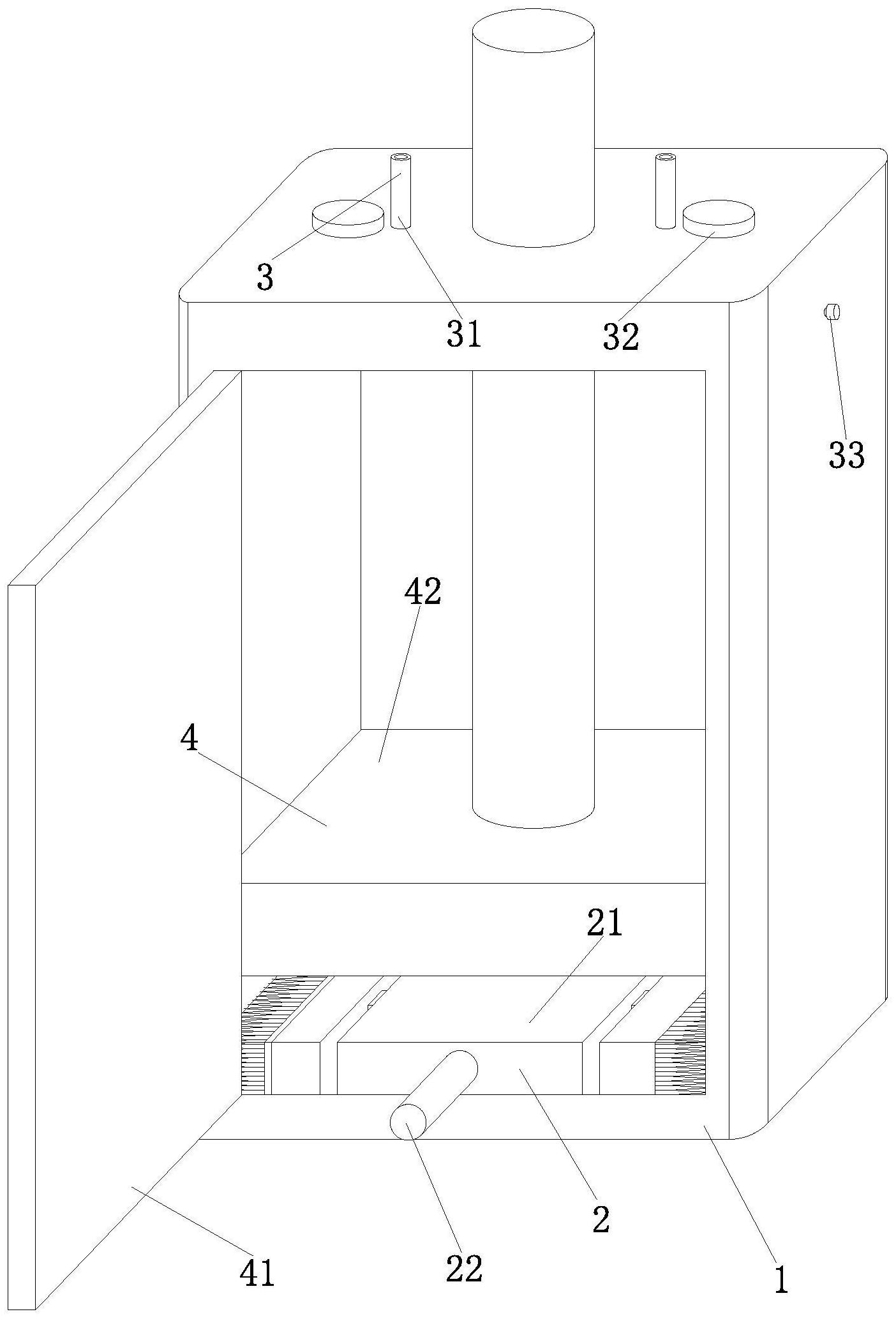
专利摘要:本实用新型涉及清洁设备的技术领域,公开了一种可拆卸清洁件、清洁装置及清洁系统,清洁装置包括自由端和固定端,固定端可拆卸连接于驱动组件上;清洁件可在驱动组件的作用下转动;清洁件内设置有配合孔,配合孔内设置有至少一个配合凸起,配合凸起与驱动组件可分离的连接。本实用新型所述的一种清洁装置,只需将清洁件的固定端拆卸即可将清洁件拆下进行清洗或更换,在保证清洁件正常工作的同时,可以减少拆卸的工作量,便于拆卸;清洁件内设置有配合孔,配合凸起与驱动组件可分离的连接,通过配合凸起提高清洁件和驱动组件连接的可靠性,且方便清洁件的拆卸。

图片来源于网络,如有侵权,请联系删除
今年以来石头科技新获得专利授权318个,较去年同期增加了274.12%。结合公司2025年中报财务数据,今年上半年公司在研发方面投入了6.85亿元,同比增67.28%。

图片来源于网络,如有侵权,请联系删除
通过天眼查大数据分析,北京石头世纪科技股份有限公司共对外投资了6家企业,参与招投标项目10次;财产线索方面有商标信息801条,专利信息1786条,著作权信息58条;此外企业还拥有行政许可13个。
数据来源:天眼查APP
以上内容为证券之星据公开信息整理,由AI算法生成(网信算备310104345710301240019号),不构成投资建议。