保变电气获得实用新型专利授权:“一种变压器风扇简易安装支架”
67164
2025月06月18日
证券之星消息,根据天眼查APP数据显示保变电气(600550)新获得一项实用新型专利授权,专利名为“一种变压器风扇简易安装支架”,专利申请号为CN202420399558.0,授权日为2025年6月3日。

图片来源于网络,如有侵权,请联系删除
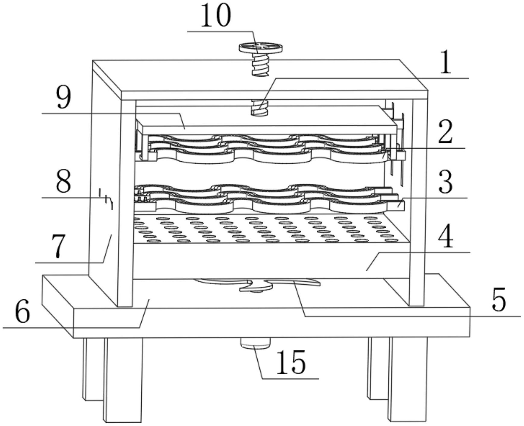
专利摘要:本实用新型公开了一种变压器风扇简易安装支架,涉及到变压器技术领域,包括架体、第一冷却下汇流管和第二冷却下汇流管,所述第一冷却下汇流管与第二冷却下汇流管平行分布,所述架体固定设置在第一冷却下汇流管与第二冷却下汇流管之间,所述架体的两端均设置有风扇本体。该变压器风扇简易安装支架,通过设置架体、第一底架、第二底架等结构,可使变压器片散用风扇能够不受本体安装进度控制,可将风扇先安装在简易支架上,安装完毕后,此简易支架携带风扇可整体转运,直接安装在变压器冷却装置下汇流管两端的底架上,从而解决直接在片散下方安装风扇困难的问题。

图片来源于网络,如有侵权,请联系删除
今年以来保变电气新获得专利授权39个,较去年同期增加了160%。结合公司2024年年报财务数据,2024年公司在研发方面投入了8986.47万元,同比增2.93%。
数据来源:天眼查APP
以上内容为证券之星据公开信息整理,由AI算法生成(网信算备310104345710301240019号),不构成投资建议。