中联重科获得实用新型专利授权:“一种车辆货厢加热装置及车辆”
证券之星消息,根据天眼查APP数据显示中联重科(000157)新获得一项实用新型专利授权,专利名为“一种车辆货厢加热装置及车辆”,专利申请号为CN202422567760.2,授权日为2025年7月22日。

图片来源于网络,如有侵权,请联系删除
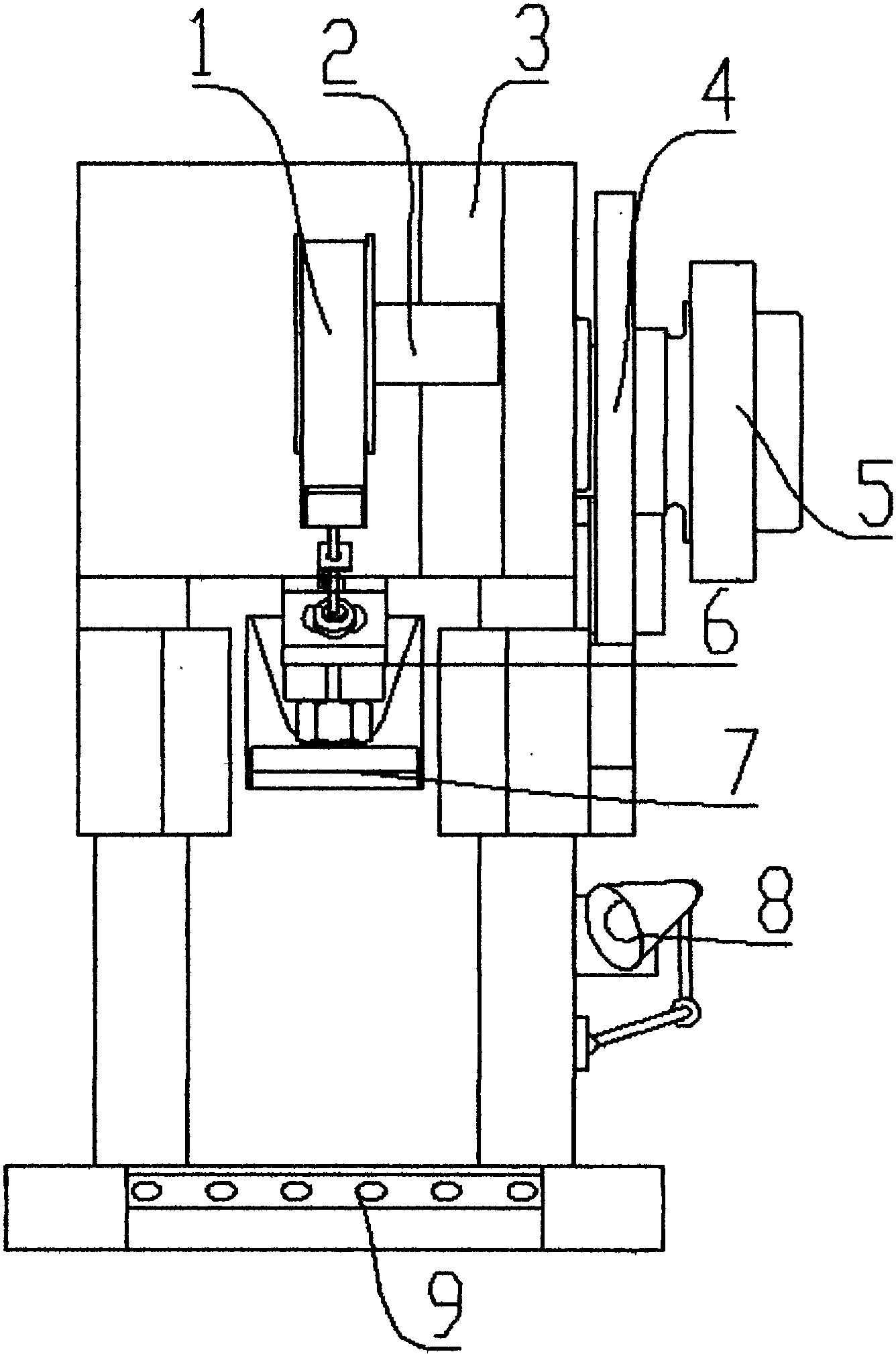
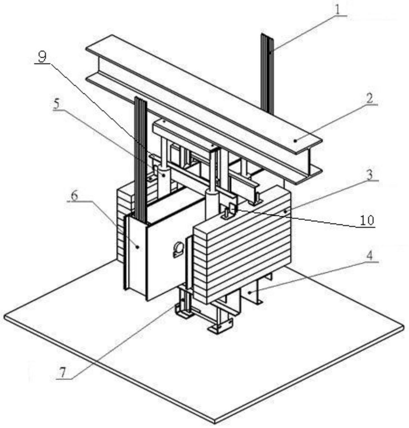
专利摘要:本申请涉及车辆技术领域,公开了一种车辆货厢加热装置,包括加热组件,包括用于与货厢的加热管路系统连通的加热通道以及与所述加热通道连通的进气结构;用于设置在所述加热组件下方的接合组件,包括用于与车辆的尾气管连通的接头结构以及与所述接头结构传动连接的回弹结构,所述接头结构设置于所述进气结构下方,所述回弹结构用于在所述货厢的压力下产生弹力以推动所述接头结构与所述进气结构接合并连通。该车辆货厢加热装置结构简单,可实现尾气的再利用,解决了低温条件下货厢内物料冻结,引起的物料滞留、运输效率低下的问题。本申请还公开了一种车辆。

图片来源于网络,如有侵权,请联系删除
今年以来中联重科新获得专利授权258个,较去年同期增加了49.13%。结合公司2024年年报财务数据,2024年公司在研发方面投入了27.69亿元,同比减19.53%。

图片来源于网络,如有侵权,请联系删除
通过天眼查大数据分析,中联重科股份有限公司共对外投资了105家企业,参与招投标项目8261次;财产线索方面有商标信息1672条,专利信息9090条,著作权信息250条;此外企业还拥有行政许可671个。
数据来源:天眼查APP
以上内容为证券之星据公开信息整理,由AI算法生成(网信算备310104345710301240019号),不构成投资建议。