首钢股份获得实用新型专利授权:“一种用于煤气排水器排水清淤的手孔组合装置”
证券之星消息,根据天眼查APP数据显示首钢股份(000959)新获得一项实用新型专利授权,专利名为“一种用于煤气排水器排水清淤的手孔组合装置”,专利申请号为CN202520512383.4,授权日为2026年2月6日。

图片来源于网络,如有侵权,请联系删除
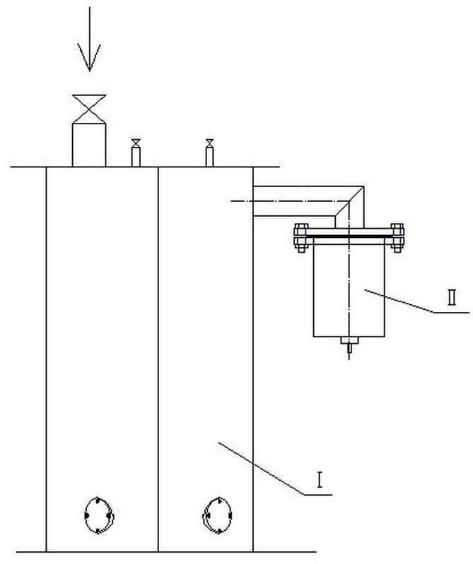
专利摘要:本实用新型公开了一种用于煤气排水器排水清淤的手孔组合装置,包括清淤手孔底座、清淤手孔盖板、第一排水部以及封堵部,清淤手孔盖板可拆卸的连接在清淤手孔底座的顶部,便于在需要进行清淤作业时快速打开进行操作,密封部煤气排水器内部的气体和液体不会从手孔处泄漏,保障系统的密封性和安全性,第一排水部固定连接在清淤手孔盖板上,使得在排水过程中,水能够顺利通过第一排水部排出煤气排水器。实现了煤气排水器内部水及沉淀物的排出功能,避免了因沉淀物堵塞煤气排水器各室连通管,保持煤气输送的正常进行。降低了因开孔过多而导致的泄漏风险,提高了系统的整体密封性和可靠性,有效解决了传统煤气排水器存在的泄漏风险高、清淤不便、维护困难等问题。

图片来源于网络,如有侵权,请联系删除
今年以来首钢股份新获得专利授权21个,较去年同期增加了110%。结合公司2025年中报财务数据,2025上半年公司在研发方面投入了2.8亿元,同比减5.24%。

图片来源于网络,如有侵权,请联系删除
通过天眼查大数据分析,北京首钢股份有限公司共对外投资了17家企业,参与招投标项目14078次;财产线索方面有商标信息6条,专利信息2490条,著作权信息12条;此外企业还拥有行政许可13个。
数据来源:天眼查APP
以上内容为证券之星据公开信息整理,由AI算法生成(网信算备310104345710301240019号),不构成投资建议。