蒙草生态获得实用新型专利授权:“一种用于配置实验室盆栽土壤的联合装置”
80246
2025月06月06日
证券之星消息,根据天眼查APP数据显示蒙草生态(300355)新获得一项实用新型专利授权,专利名为“一种用于配置实验室盆栽土壤的联合装置”,专利申请号为CN202421521267.0,授权日为2025年6月6日。

图片来源于网络,如有侵权,请联系删除
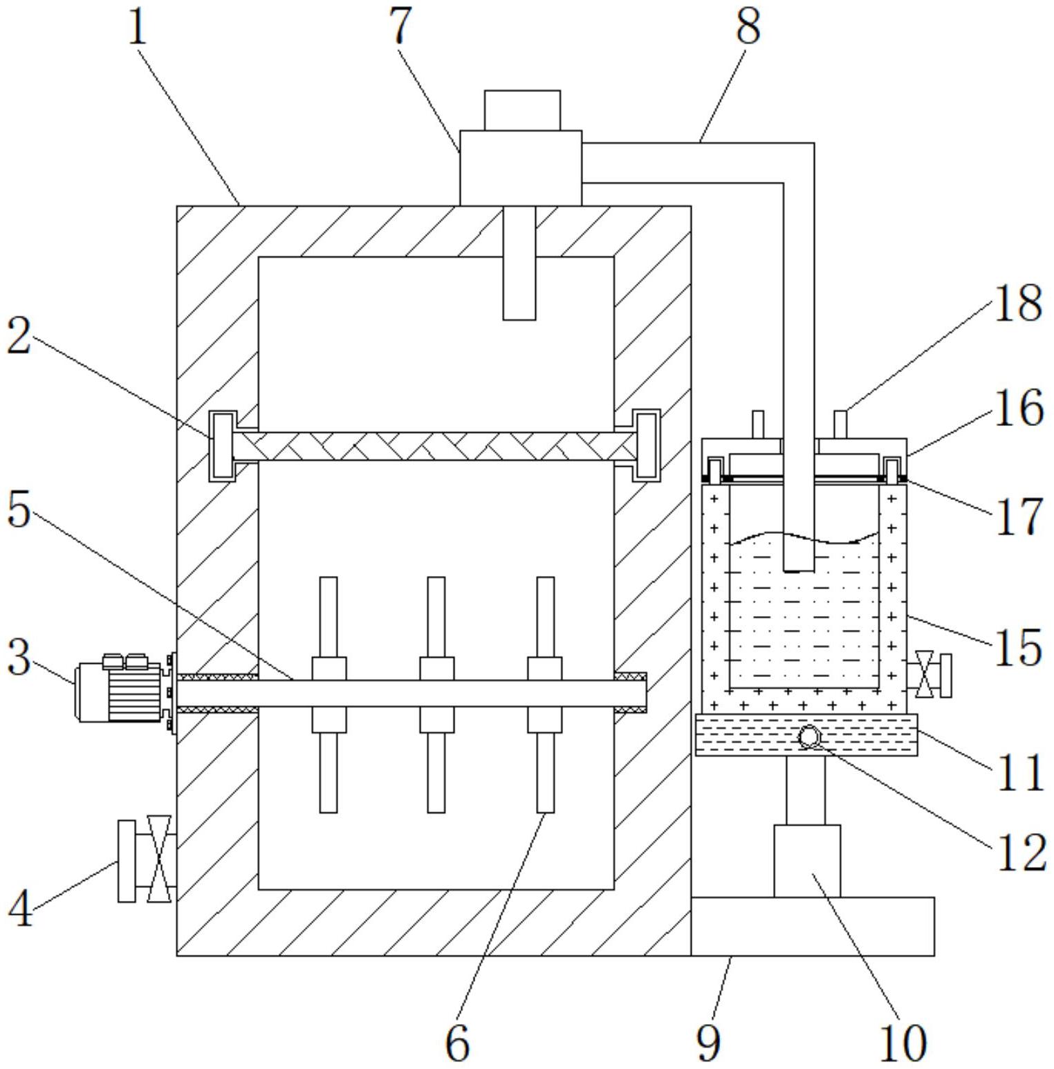
专利摘要:本实用新型属于土壤配置设备技术领域,尤其涉及一种用于配置实验室盆栽土壤的联合装置,针对现有装置无法对盆栽土进行完整的流程化配置,且现有的配置方式效率较低的问题,现提出如下方案,包括土壤粉碎筒、土壤筛框和土壤搅拌箱,本实用新型将实验室盆栽土壤制备过程的各设备组合在一起,实验人员只需将采集土壤样品和需要添加的物料放入装置内,通过操控配置,可以获得配置均匀实验用土,并完成装土,减轻了人员工作量,提高了工作效率;粉碎除草组件包括粉碎转杆和草根分离转杆,可实现将草根或较长的秸秆与土壤分离;土壤筛框连接有工业水平振动器和弹性振动组件,加快土壤筛框对土壤的筛分效率,实现将土壤中含有的石块或较短的杂草筛除。

图片来源于网络,如有侵权,请联系删除
今年以来蒙草生态新获得专利授权74个,较去年同期增加了45.1%。结合公司2024年年报财务数据,2024年公司在研发方面投入了1.64亿元,同比增20.76%。
数据来源:天眼查APP
以上内容为证券之星据公开信息整理,由AI算法生成(网信算备310104345710301240019号),不构成投资建议。