京东方A获得发明专利授权:“显示控制方法、装置及显示设备”
59299
2025月06月07日
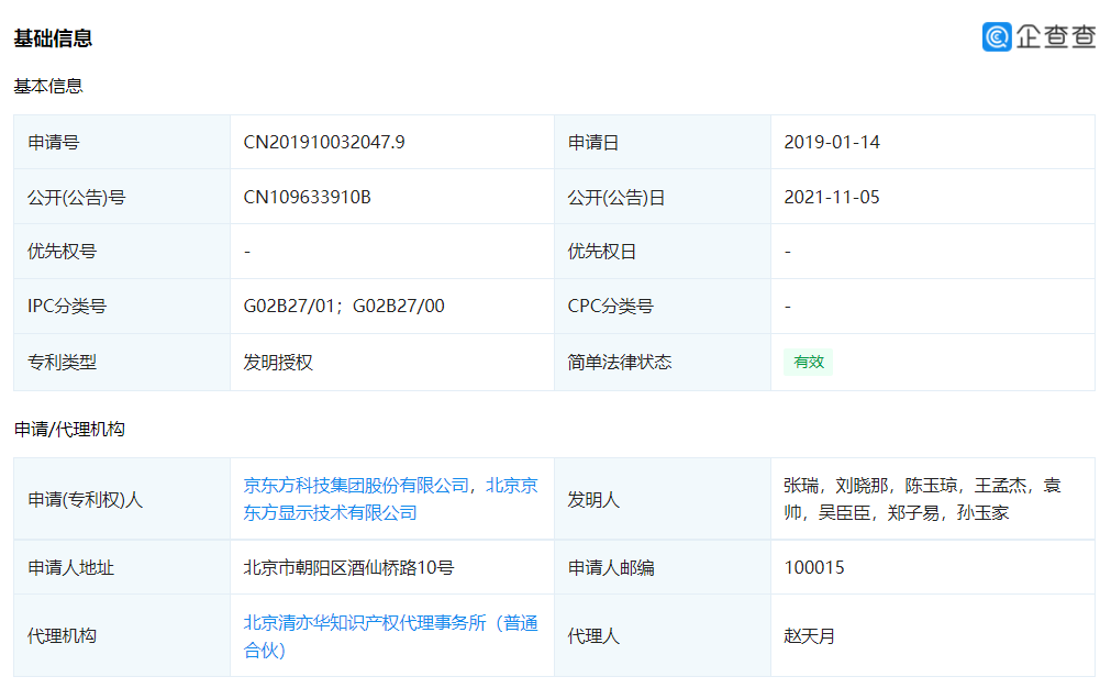
证券之星消息,根据天眼查APP数据显示京东方A(000725)新获得一项发明专利授权,专利名为“显示控制方法、装置及显示设备”,专利申请号为CN202211017614.1,授权日为2025年6月6日。

图片来源于网络,如有侵权,请联系删除
专利摘要:本发明公开了一种显示控制方法、装置及显示设备,其中的控制方法包括:获取显示模组的显示亮度和向显示模组的显示驱动电路输出的原始图像信号;根据所述显示亮度,将所述原始图像信号转换为中间图像信号;所述原始图像信号的第一位深大于等于所述中间图像信号的第二位深,所述显示亮度与所述第二位深正相关;将所述中间图像信号发送至所述显示驱动电路,以使所述显示驱动电路将所述中间图像信号转换为目标图像信号并输出显示;所述目标图像信号的第三位深与所述第一位深相同。本方法能够在显示模组在低亮度时降低图像信号传输功耗以及显示驱动电路的驱动功耗。

图片来源于网络,如有侵权,请联系删除
今年以来京东方A新获得专利授权1762个,较去年同期增加了4.38%。结合公司2024年年报财务数据,2024年公司在研发方面投入了131.23亿元,同比增15.94%。

图片来源于网络,如有侵权,请联系删除
数据来源:天眼查APP
以上内容为证券之星据公开信息整理,由AI算法生成(网信算备310104345710301240019号),不构成投资建议。