格力电器获得发明专利授权:“一种滚筒洗衣机的筒组件、滚筒洗衣机”
证券之星消息,根据天眼查APP数据显示格力电器(000651)新获得一项发明专利授权,专利名为“一种滚筒洗衣机的筒组件、滚筒洗衣机”,专利申请号为CN202010824537.5,授权日为2025年6月27日。

图片来源于网络,如有侵权,请联系删除
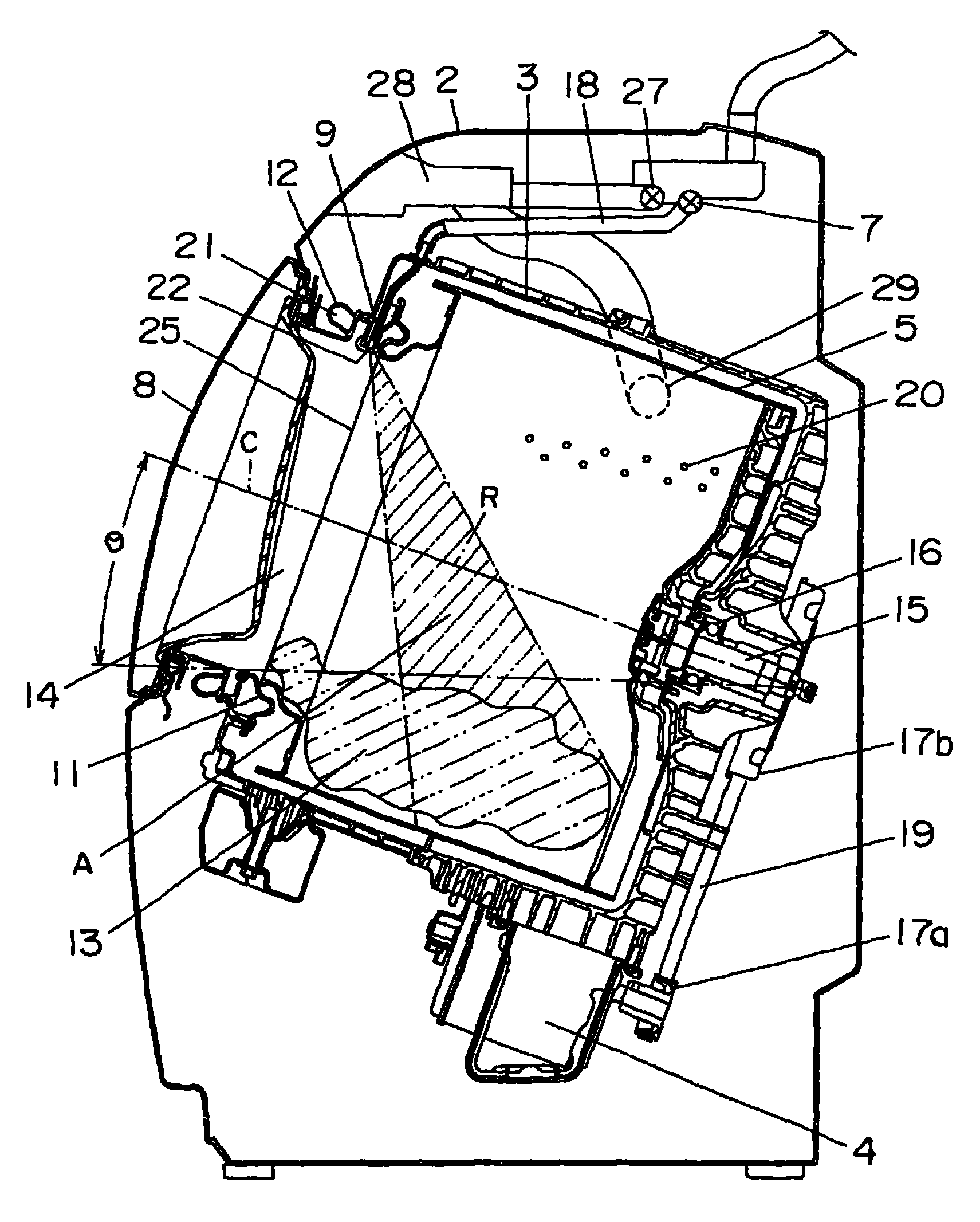
专利摘要:本发明公开了一种滚筒洗衣机的筒组件、滚筒洗衣机。所述筒组件包括第一筒和可转动的设置在所述第一筒上的第二筒,其中:所述第一筒具有储水腔,所述第一筒的一端形成有与所述储水腔连通的第一安装端口;所述第二筒具有洗衣腔,所述第二筒的一端形成有与所述洗衣腔连通的第二安装端口,另一端形成有与所述洗衣腔连通的衣物取放口;其中所述第二安装端口与所述第一安装端口可转动连接,并使所述洗衣腔与所述储水腔连通。采用该筒组件的滚筒洗衣机去除了外筒,不存在内、外筒间夹层,故不会积聚细菌与污垢,衣物也不会被二次污染;同时由于内筒无孔,优化了进排水系统,用水量明显减少。

图片来源于网络,如有侵权,请联系删除
今年以来格力电器新获得专利授权3283个,较去年同期减少了1.62%。结合公司2024年年报财务数据,2024年公司在研发方面投入了69.04亿元,同比增2.1%。

图片来源于网络,如有侵权,请联系删除
通过天眼查大数据分析,珠海格力电器股份有限公司共对外投资了100家企业,参与招投标项目26607次;财产线索方面有商标信息8132条,专利信息115519条,著作权信息297条;此外企业还拥有行政许可828个。
数据来源:天眼查APP
以上内容为证券之星据公开信息整理,由AI算法生成(网信算备310104345710301240019号),不构成投资建议。