长安汽车获得发明专利授权:“一种车门外水切安装机构、车门外水切总成以及车门”
66605
2025月08月23日
证券之星消息,根据天眼查APP数据显示长安汽车(000625)新获得一项发明专利授权,专利名为“一种车门外水切安装机构、车门外水切总成以及车门”,专利申请号为CN202310603097.4,授权日为2025年8月22日。

图片来源于网络,如有侵权,请联系删除
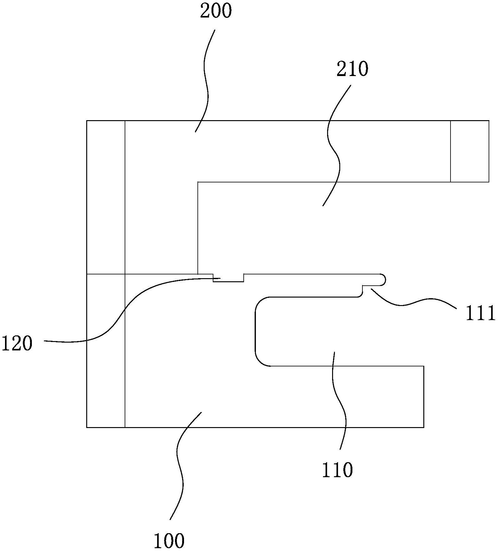
专利摘要:本发明涉及一种车门外水切安装机构、车门外水切总成以及车门,该车门外水切安装机构包括安装件主体,所述安装件主体上设置有能够与车门外板上的加强板卡接的第一卡接结构以及第二卡接结构,所述加强板上设置有与所述第一卡接结构相卡接的卡接口以及能够与所述第二卡接结构相抵接的抵接件。本发明涉及的车门外水切安装机构能够在不另外焊接其他零件来实现安装固定的前提下完成对车门外水切总成的安装固定,结构简单紧凑,便于安装,生产安装成本低,并且不会影响车门的整体美观性。

图片来源于网络,如有侵权,请联系删除
今年以来长安汽车新获得专利授权803个,较去年同期减少了37.36%。结合公司2025年中报财务数据,今年上半年公司在研发方面投入了32.84亿元,同比增12.76%。

图片来源于网络,如有侵权,请联系删除
数据来源:天眼查APP
以上内容为证券之星据公开信息整理,由AI算法生成(网信算备310104345710301240019号),不构成投资建议。