富创精密获得实用新型专利授权:“一种腔体内表面研磨治具”
证券之星消息,根据天眼查APP数据显示富创精密(688409)新获得一项实用新型专利授权,专利名为“一种腔体内表面研磨治具”,专利申请号为CN202520270600.3,授权日为2026年1月23日。

图片来源于网络,如有侵权,请联系删除
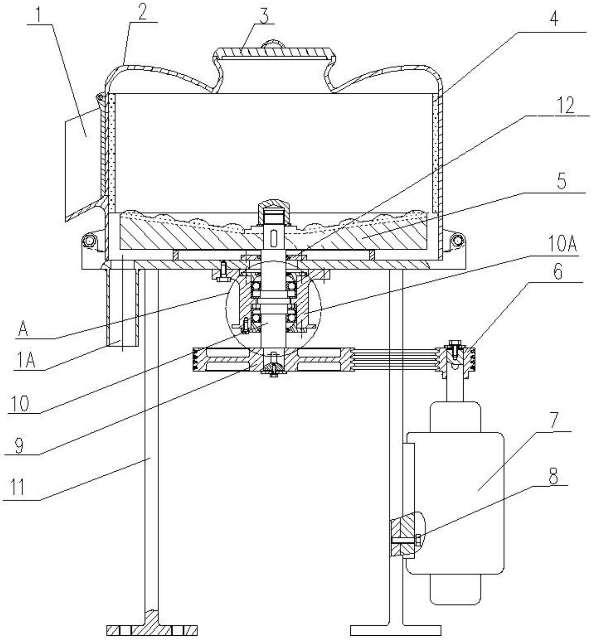
专利摘要:本实用新型涉及表面处理研磨技术领域,具体是一种腔体内表面研磨治具,包括由底座、支柱、基板和垫板固定连接组成的支撑平台,待研磨腔体零件固定在垫板上,在底座的上表面上固定连接有两个定位座,在定位座的中心设置有旋转孔,两个定位座上的旋转孔之间的中心距与两个圆心通孔之间的中心距相等,在基板和垫板上分别设置有与两个旋转孔同心的通孔三和通孔六,旋转轴的一端穿过通孔六和通孔三后间隙配合地插装在旋转孔中,旋转轴的另一端伸出待研磨腔体零件外通过滚针轴承与夹紧块连接,在夹紧块上安装有电磨头,在电磨头上安装有用于研磨的磨具。该腔体内表面研磨治具有效解决了传统人工抛光方法存在的效率低下、质量不稳定等问题。

图片来源于网络,如有侵权,请联系删除
今年以来富创精密新获得专利授权10个,较去年同期增加了42.86%。结合公司2025年中报财务数据,2025上半年公司在研发方面投入了1.21亿元,同比增18.12%。

图片来源于网络,如有侵权,请联系删除
通过天眼查大数据分析,沈阳富创精密设备股份有限公司共对外投资了22家企业,参与招投标项目86次;财产线索方面有商标信息28条,专利信息719条,著作权信息3条;此外企业还拥有行政许可45个。
数据来源:天眼查APP
以上内容为证券之星据公开信息整理,由AI算法生成(网信算备310104345710301240019号),不构成投资建议。