先导智能获得实用新型专利授权:“夹持装置及串焊机”
证券之星消息,根据天眼查APP数据显示先导智能(300450)新获得一项实用新型专利授权,专利名为“夹持装置及串焊机”,专利申请号为CN202520409894.3,授权日为2026年3月6日。

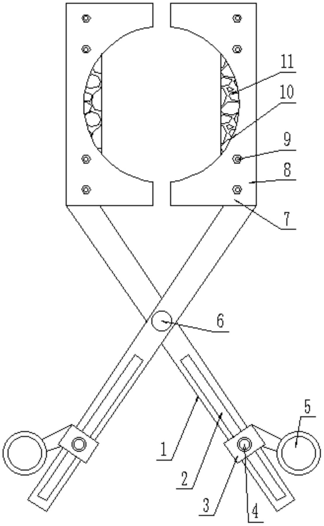
图片来源于网络,如有侵权,请联系删除
专利摘要:本申请涉及一种夹持装置及串焊机。夹持装置包括:基座;夹持组件,设置于所述基座,且包括第一夹持件及第二夹持件,第一夹持件具有多个第一夹爪,第二夹持件具有多个第二夹爪,第一夹爪及第二夹爪沿基座的长度方向交替且成对设置;传动组件包括转动座、第一传动件及第二传动件,第一传动件及第二传动件安装于转动座上,第一传动件与第一夹持件滚动配合,第二传动件与第一夹持件滚动配合。其中,转动座受控带动第一传动件及第二传动件转动时,第一传动件及第二传动件共同驱动成对的第一夹爪及第二夹爪沿基座的长度方向相向或者相背滑动,以使成对的第一夹爪及第二夹爪闭合或张开。本申请提供的夹持装置及串焊机能够减少磨损,延长使用寿命。
今年以来先导智能新获得专利授权54个,较去年同期减少了36.47%。结合公司2025年中报财务数据,2025上半年公司在研发方面投入了8.27亿元,同比减0.41%。
通过天眼查大数据分析,无锡先导智能装备股份有限公司共对外投资了10家企业,参与招投标项目410次;财产线索方面有商标信息339条,专利信息3239条,著作权信息185条;此外企业还拥有行政许可269个。
数据来源:天眼查APP
以上内容为证券之星据公开信息整理,由AI算法生成(网信算备310104345710301240019号),不构成投资建议。