格力电器获得实用新型专利授权:“传动组件、翻转梁机构及冰箱”
49229
2025月06月06日
证券之星消息,根据天眼查APP数据显示格力电器(000651)新获得一项实用新型专利授权,专利名为“传动组件、翻转梁机构及冰箱”,专利申请号为CN202421952488.3,授权日为2025年6月6日。

图片来源于网络,如有侵权,请联系删除
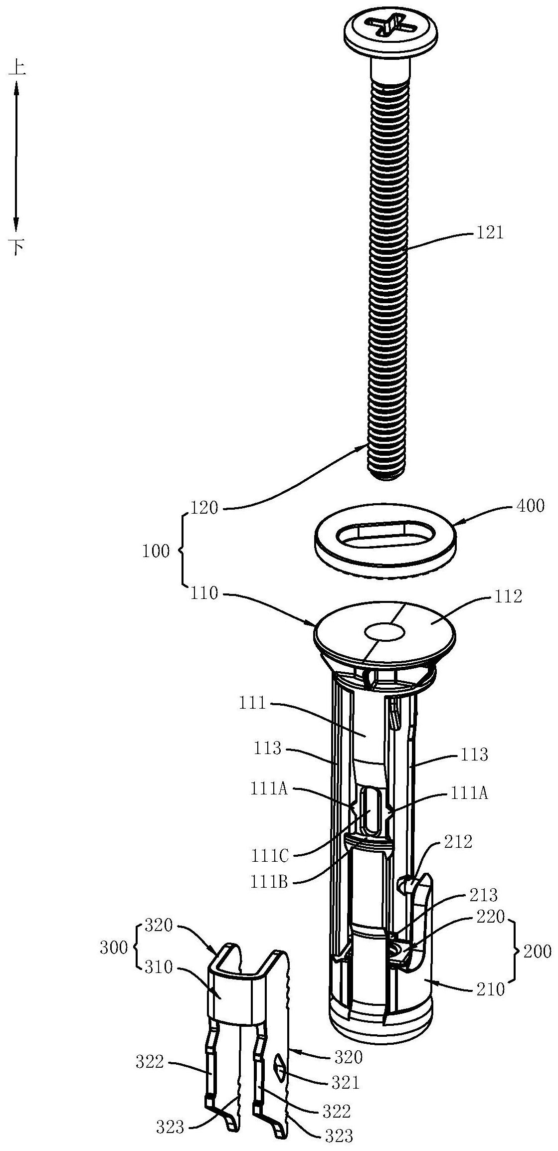
专利摘要:本申请涉及冰箱领域,特别涉及一种传动组件、翻转梁机构及冰箱。传动组件包括基座、传动导杆、传动挡杆和传动构件;基座设有第一弧形导槽,第一弧形导槽的弧度大于等于π/2;传动导杆与基座滑动连接,能够相对基座滑动伸出或者收回,传动挡杆转动连接基座且设有第一导轴,第一导轴通过第一弧形导槽凸出于基座,第一导轴能够随着传动挡杆的转动在第一弧形导槽内滑动;传动构件传动连接在传动导杆和传动挡杆之间;传动导杆滑动朝向基座收回时,第一导轴朝向第一弧形导槽的第一端运动;传动导杆被驱动相对基座伸出时,第一导轴朝向第一弧形槽的第二端运动。该传动组件能够在未设置翻转梁一侧的门体开闭时驱动翻转梁翻转,提高该侧抽屉打开的便利性。
今年以来格力电器新获得专利授权2536个,较去年同期减少了8.18%。结合公司2024年年报财务数据,2024年公司在研发方面投入了69.04亿元,同比增2.1%。
数据来源:天眼查APP
以上内容为证券之星据公开信息整理,由AI算法生成(网信算备310104345710301240019号),不构成投资建议。