长城汽车获得实用新型专利授权:“消声器总成及汽车”
55116
2025月06月06日
证券之星消息,根据天眼查APP数据显示长城汽车(601633)新获得一项实用新型专利授权,专利名为“消声器总成及汽车”,专利申请号为CN202422355128.1,授权日为2025年6月6日。

图片来源于网络,如有侵权,请联系删除
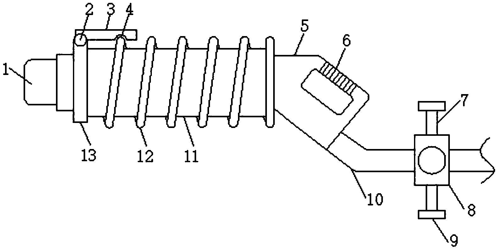
专利摘要:本申请提供了一种消声器总成及汽车,消声器总成包括消声器进气管、消声器出气管、消声器壳体和消声器芯管;消声器壳体与电池包沿车身Y向并列设置,消声器壳体的两端分别与消声器进气管和消声器出气管相连,且消声器壳体的外径等于或小于消声器进气管的外径,和/或,消声器壳体的外径小于消声器出气管的外径;消声器芯管插接设置在消声器壳体的内部,且其两端分别与消声器壳体的两端相连,以与消声器壳体之间具有一扩张腔,消声器芯管上开设有多个通孔,且扩张腔内填充有消音构件;本申请提供的消声器总成及汽车,能够减少对Y向空间的占用,以确保电池包的Y向尺寸设计能够符合用户需求。

图片来源于网络,如有侵权,请联系删除
今年以来长城汽车新获得专利授权1241个,较去年同期增加了60.13%。结合公司2024年年报财务数据,2024年公司在研发方面投入了92.84亿元,同比增15.27%。
数据来源:天眼查APP
以上内容为证券之星据公开信息整理,由AI算法生成(网信算备310104345710301240019号),不构成投资建议。