新兴铸管获得实用新型专利授权:“一种新型铁路钢轨吊装工具”
证券之星消息,根据天眼查APP数据显示新兴铸管(000778)新获得一项实用新型专利授权,专利名为“一种新型铁路钢轨吊装工具”,专利申请号为CN202421796037.5,授权日为2025年7月15日。

图片来源于网络,如有侵权,请联系删除
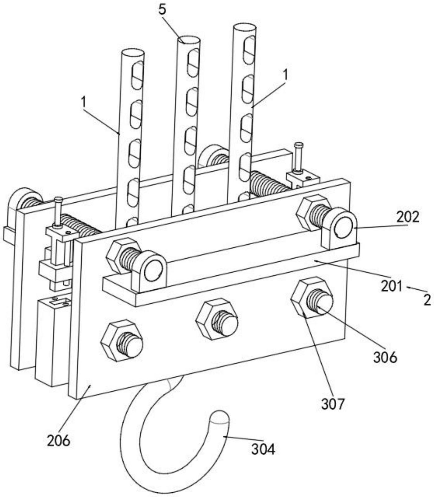
专利摘要:本实用新型涉及钢轨吊装技术领域,尤其涉及一种新型铁路钢轨吊装工具,该新型铁路钢轨吊装工具包括连接件,连接件上端用于与吊钩连接;固定夹板设于连接件上;活动夹板与固定夹板沿前后方向对称布置在连接件上,且活动夹板通过第一螺栓和第二螺栓可拆连接在连接件上;固定夹板和活动夹板均为L型板且固定夹板和活动夹板用于插入工字型的钢轨两侧的槽内以夹紧钢轨。本实用新型的一种新型铁路钢轨吊装工具在使用时,结构简单,不需穿过钢轨底部而夹紧在钢轨两侧的槽内,减少工人劳动力,降低人工成本。

图片来源于网络,如有侵权,请联系删除
今年以来新兴铸管新获得专利授权88个,较去年同期增加了238.46%。结合公司2024年年报财务数据,2024年公司在研发方面投入了3.65亿元,同比减3.25%。

图片来源于网络,如有侵权,请联系删除
通过天眼查大数据分析,新兴铸管股份有限公司共对外投资了44家企业,参与招投标项目32721次;财产线索方面有商标信息43条,专利信息3047条,著作权信息68条;此外企业还拥有行政许可73个。
数据来源:天眼查APP
以上内容为证券之星据公开信息整理,由AI算法生成(网信算备310104345710301240019号),不构成投资建议。