安达智能获得实用新型专利授权:“一种冻干球分装导向装置”
证券之星消息,根据天眼查APP数据显示安达智能(688125)新获得一项实用新型专利授权,专利名为“一种冻干球分装导向装置”,专利申请号为CN202422500298.4,授权日为2025年7月29日。

图片来源于网络,如有侵权,请联系删除
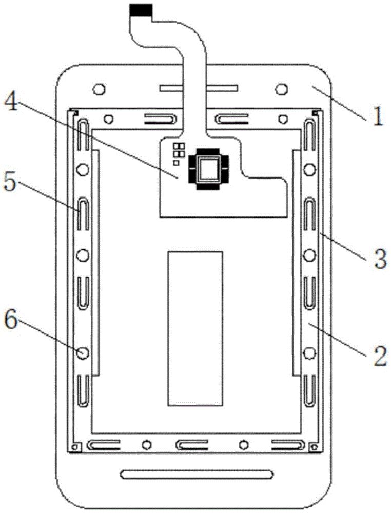
专利摘要:本实用新型涉及冻干球分装技术领域,公开一种冻干球分装导向装置,包括固定支座和导向盘。固定支座具有安装空间,导向盘设置于固定支座并至少部分位于安装空间内,导向盘上设有多个导向孔,待植球的反应盘具有多个植球孔位,导向盘能够与反应盘贴合,以使多个导向孔与多个植球孔位一一对应连通,待分装的冻干球能够经由导向孔落入对应的植球孔位。在分装冻干球时,冻干球分装设备的出料嘴对准导向孔落球,即可使冻干球在自身重力作用下从导向孔落入对应的植球孔位,完成植球。即,导向盘的导向孔能引导冻干球准确落入对应的植球孔位,防止冻干球滚落脱离反应盘,且能避免冻干球破损掉粉,植球过程中冻干球不会与外物接触,能防止冻干球污染。

图片来源于网络,如有侵权,请联系删除
今年以来安达智能新获得专利授权54个,较去年同期增加了217.65%。结合公司2024年年报财务数据,2024年公司在研发方面投入了1.38亿元,同比增37.19%。

图片来源于网络,如有侵权,请联系删除
通过天眼查大数据分析,广东安达智能装备股份有限公司共对外投资了11家企业,参与招投标项目44次;财产线索方面有商标信息56条,专利信息553条,著作权信息47条;此外企业还拥有行政许可38个。
数据来源:天眼查APP
以上内容为证券之星据公开信息整理,由AI算法生成(网信算备310104345710301240019号),不构成投资建议。