美的集团获得实用新型专利授权:“阻尼对中机构和贴阻尼装置”
66918
2025月08月22日
证券之星消息,根据天眼查APP数据显示美的集团(000333)新获得一项实用新型专利授权,专利名为“阻尼对中机构和贴阻尼装置”,专利申请号为CN202422654408.2,授权日为2025年8月22日。

图片来源于网络,如有侵权,请联系删除
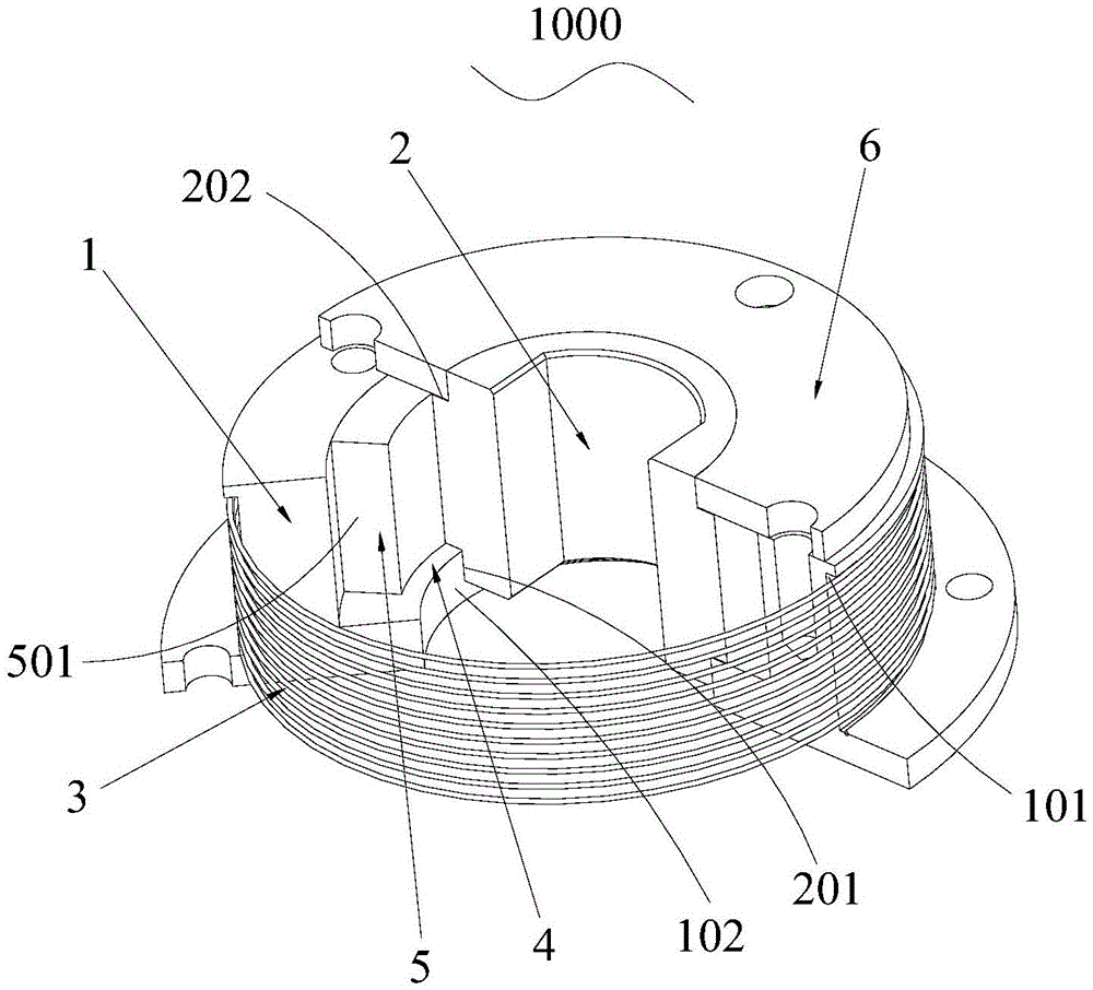
专利摘要:本实用新型涉及机械设备技术领域,具体公开了一种阻尼对中机构和贴阻尼装置,阻尼对中机构包括:定位平台、至少两个定位块和驱动组件,定位平台具有阻尼放置面;至少两个定位块设于定位平台,并伸出阻尼放置面,至少两个定位块沿相互远离和相互收拢的位置之间切换;驱动组件用于驱动至少两个定位块。根据本实用新型实施例的阻尼对中机构,通过设置驱动组件驱动至少两个定位块移动,至少两个定位块可推动阻尼移动至预定位置,实现阻尼的精准定位,提升阻尼装配的自动化程度,进而提升生产效率。
今年以来美的集团新获得专利授权1858个,较去年同期减少了11.48%。结合公司2024年年报财务数据,2024年公司在研发方面投入了162.33亿元,同比增11.31%。
通过天眼查大数据分析,美的集团股份有限公司共对外投资了129家企业,参与招投标项目4473次;财产线索方面有商标信息9756条,专利信息66058条,著作权信息125条;此外企业还拥有行政许可84个。
数据来源:天眼查APP
以上内容为证券之星据公开信息整理,由AI算法生成(网信算备310104345710301240019号),不构成投资建议。