秦港股份获得实用新型专利授权:“一种具有自动搅拌功能的移动式煤泥回收处理装置”
证券之星消息,根据天眼查APP数据显示秦港股份(601326)新获得一项实用新型专利授权,专利名为“一种具有自动搅拌功能的移动式煤泥回收处理装置”,专利申请号为CN202421649574.7,授权日为2025年9月26日。

图片来源于网络,如有侵权,请联系删除
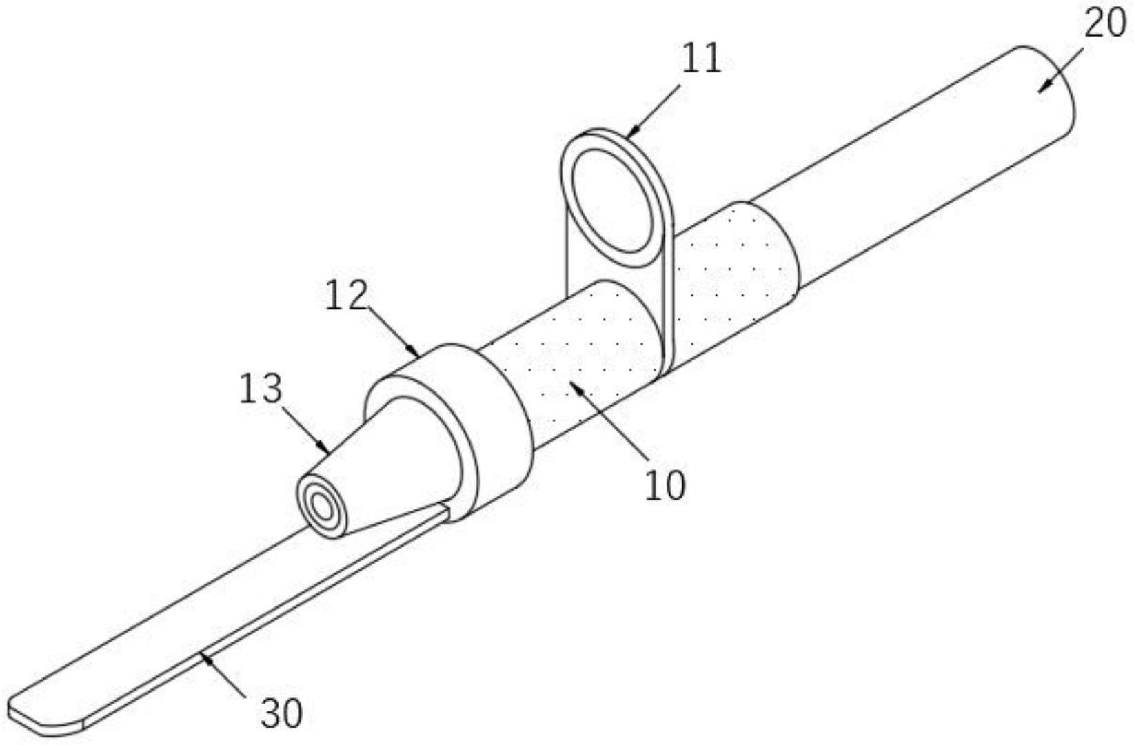
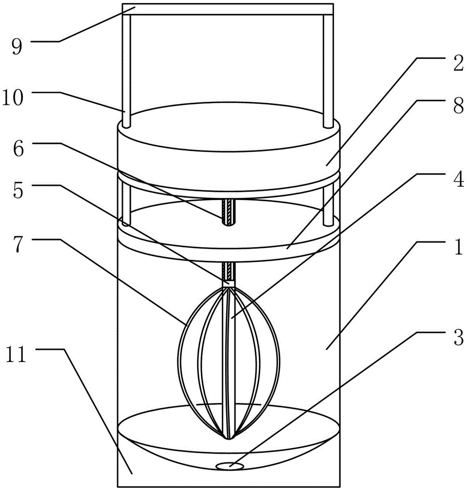
专利摘要:本实用新型涉及一种具有自动搅拌功能的移动式煤泥回收处理装置,特点为:移动运输部分包括车头和平板车;自动搅拌部分包括搅拌泵和起升装置;起升装置采用可绕立柱旋转的伸缩式悬臂结构,在悬臂的末端连接有电动葫芦,电动葫芦的拉链端连接有泵支架,搅拌泵安装在泵支架上,在泵支架上安装有进料前端管;进料部分安装于平板车上位于自动搅拌部分的后方,其进料管路与进料泵入口连接,并通过进料软管与进料前端管上端连接,出料管路与进料泵出口连接,并通过管路与脱水压榨部分的压滤泵的入料口连接;脱水压榨部分安装于进料部分后方的二层平台上;排料部分安装于平板车上方,并位于二层平台的下方。本装置避免了二次污染、提高了处理效率。

图片来源于网络,如有侵权,请联系删除
今年以来秦港股份新获得专利授权14个,较去年同期减少了41.67%。结合公司2025年中报财务数据,今年上半年公司在研发方面投入了5558.7万元,同比增28.66%。

图片来源于网络,如有侵权,请联系删除
通过天眼查大数据分析,秦皇岛港股份有限公司共对外投资了27家企业,参与招投标项目1813次;财产线索方面有专利信息175条,著作权信息74条;此外企业还拥有行政许可83个。
数据来源:天眼查APP
以上内容为证券之星据公开信息整理,由AI算法生成(网信算备310104345710301240019号),不构成投资建议。