箭牌家居获得实用新型专利授权:“一种冷热烘干装置及智能马桶”
证券之星消息,根据天眼查APP数据显示箭牌家居(001322)新获得一项实用新型专利授权,专利名为“一种冷热烘干装置及智能马桶”,专利申请号为CN202422468007.8,授权日为2025年10月21日。

图片来源于网络,如有侵权,请联系删除
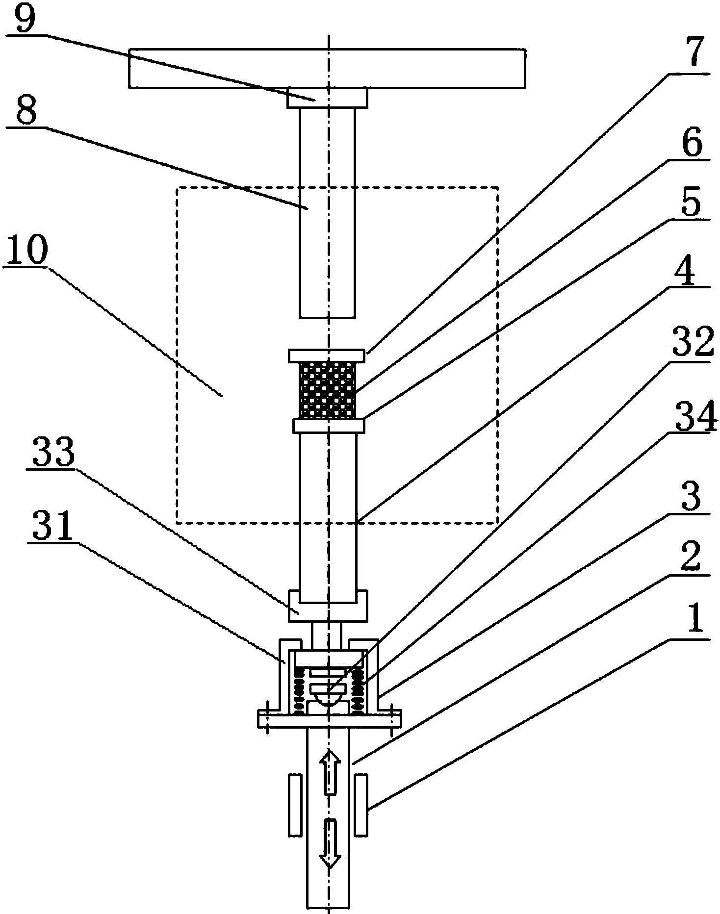
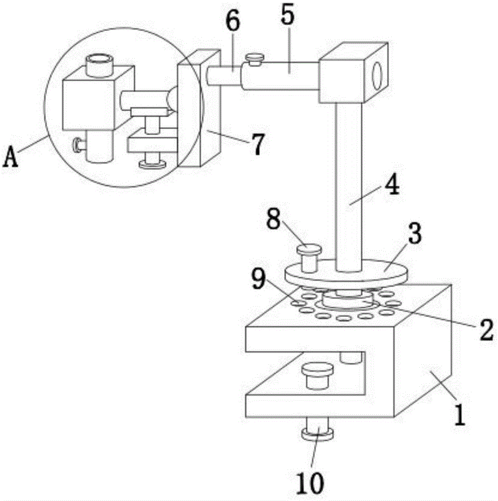
专利摘要:本实用新型公开了一种冷热烘干装置及智能马桶,冷热烘干装置包括壳体、风机、发热器、半导体制冷片、冷端翅片和散热组件,壳体内具有风道,壳体上设有进风口和出风口,发热器和冷端翅片设于风道中,半导体制冷片的冷端与冷端翅片连接,散热组件位于风道的外部,风道的侧壁开有散热口,半导体制冷片的热端通过散热口与散热组件连接。本发明在现有烘干模块中,加入半导体制冷片,使烘干模块具备吹出冷风的功能。利用半导体制冷片、冷端翅片和散热组件组成制冷系统,半导体制冷片的冷端与冷端翅片连接,对风道内的空气进行冷却,热端通过散热口连接风道外部的散热组件,从而将通过风道的空气的热量转移到散热组件的冷却介质中。

图片来源于网络,如有侵权,请联系删除
今年以来箭牌家居新获得专利授权475个,较去年同期增加了20.25%。结合公司2025年中报财务数据,今年上半年公司在研发方面投入了1.56亿元,同比减8.05%。
通过天眼查大数据分析,箭牌家居集团股份有限公司共对外投资了24家企业,参与招投标项目264次;财产线索方面有商标信息376条,专利信息3340条,著作权信息69条;此外企业还拥有行政许可96个。
数据来源:天眼查APP
以上内容为证券之星据公开信息整理,由AI算法生成(网信算备310104345710301240019号),不构成投资建议。