格力电器获得发明专利授权:“一种主轴及具有其的机床”
证券之星消息,根据天眼查APP数据显示格力电器(000651)新获得一项发明专利授权,专利名为“一种主轴及具有其的机床”,专利申请号为CN202310375085.0,授权日为2026年1月23日。

图片来源于网络,如有侵权,请联系删除
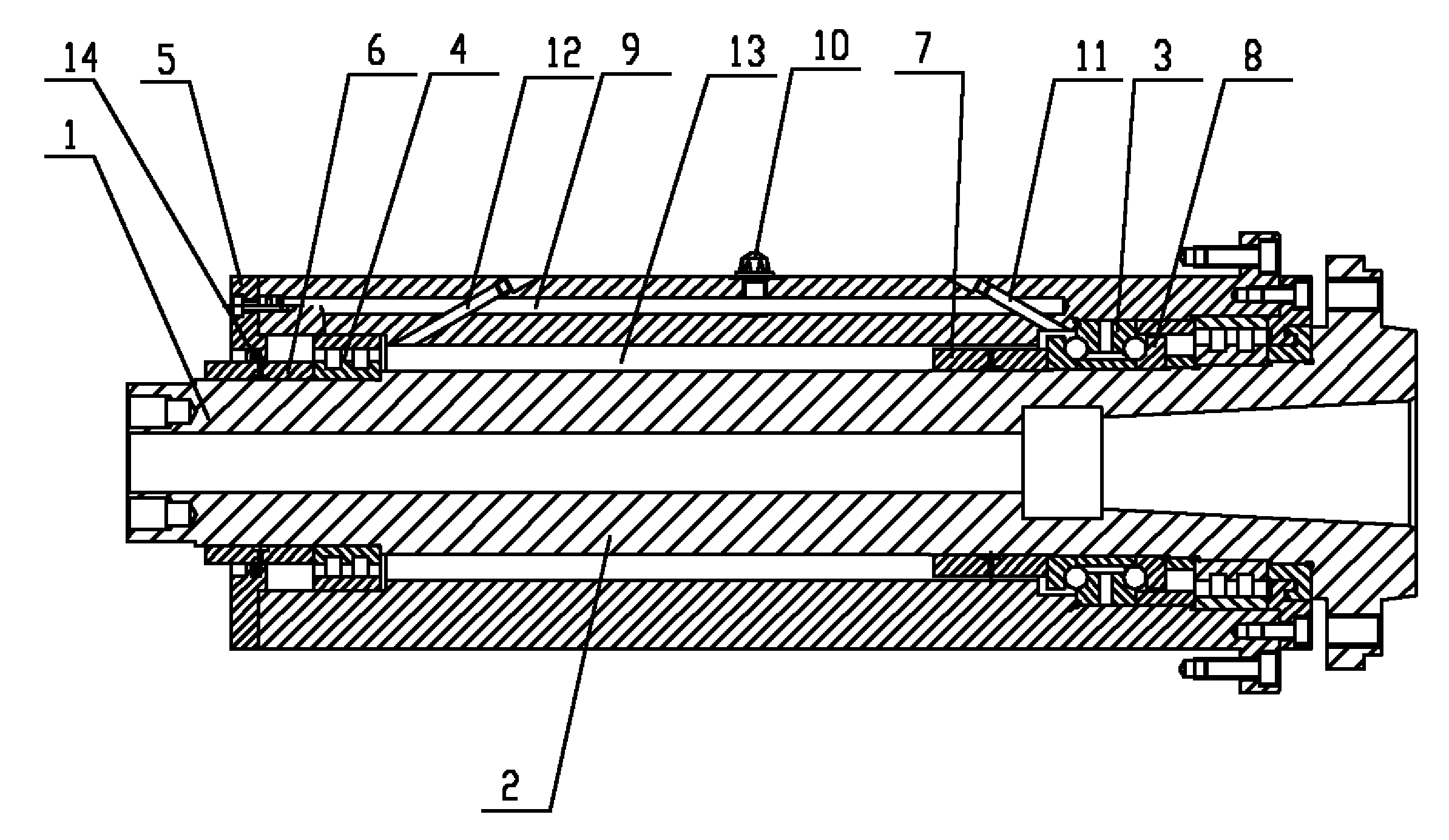
专利摘要:本发明涉及机电领域,提供了一种主轴及具有其的机床。其中,主轴包括轴套组件、轴芯组件、前轴承组件、后轴承组件、气缸组件、旋转接头、松拉刀组件、检测组件。主轴的松拉刀组件具有中心孔,与旋转接头配合,通过中心孔通水,能够对刀具进行冷却,防止刀具损耗,有利于提升刀具的使用寿命,提升加工精度;通过中心孔通压缩空气,能够对主轴的锥孔进行清洁;并且,主轴的检测组件可以识别主轴的带刀状态,从而有利于主轴的精准控制,有利于提升加工质量和加工精度,提升主轴的智能化程度;同时,主轴的气缸组件使其具有气动打刀功能,可以利用机床的压缩空气实现驱动松拉刀组件运动,从而可以取消液压站,有利于节约成本。

图片来源于网络,如有侵权,请联系删除
今年以来格力电器新获得专利授权590个,较去年同期增加了76.12%。结合公司2025年中报财务数据,2025上半年公司在研发方面投入了39.18亿元,同比增10.92%。

图片来源于网络,如有侵权,请联系删除
通过天眼查大数据分析,珠海格力电器股份有限公司共对外投资了98家企业,参与招投标项目34388次;财产线索方面有商标信息8212条,专利信息120845条,著作权信息299条;此外企业还拥有行政许可908个。
数据来源:天眼查APP
以上内容为证券之星据公开信息整理,由AI算法生成(网信算备310104345710301240019号),不构成投资建议。