永贵电器获得实用新型专利授权:“一种具有通用性的手动维护开关”
证券之星消息,根据天眼查APP数据显示永贵电器(300351)新获得一项实用新型专利授权,专利名为“一种具有通用性的手动维护开关”,专利申请号为CN202520032811.3,授权日为2026年1月30日。

图片来源于网络,如有侵权,请联系删除
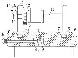
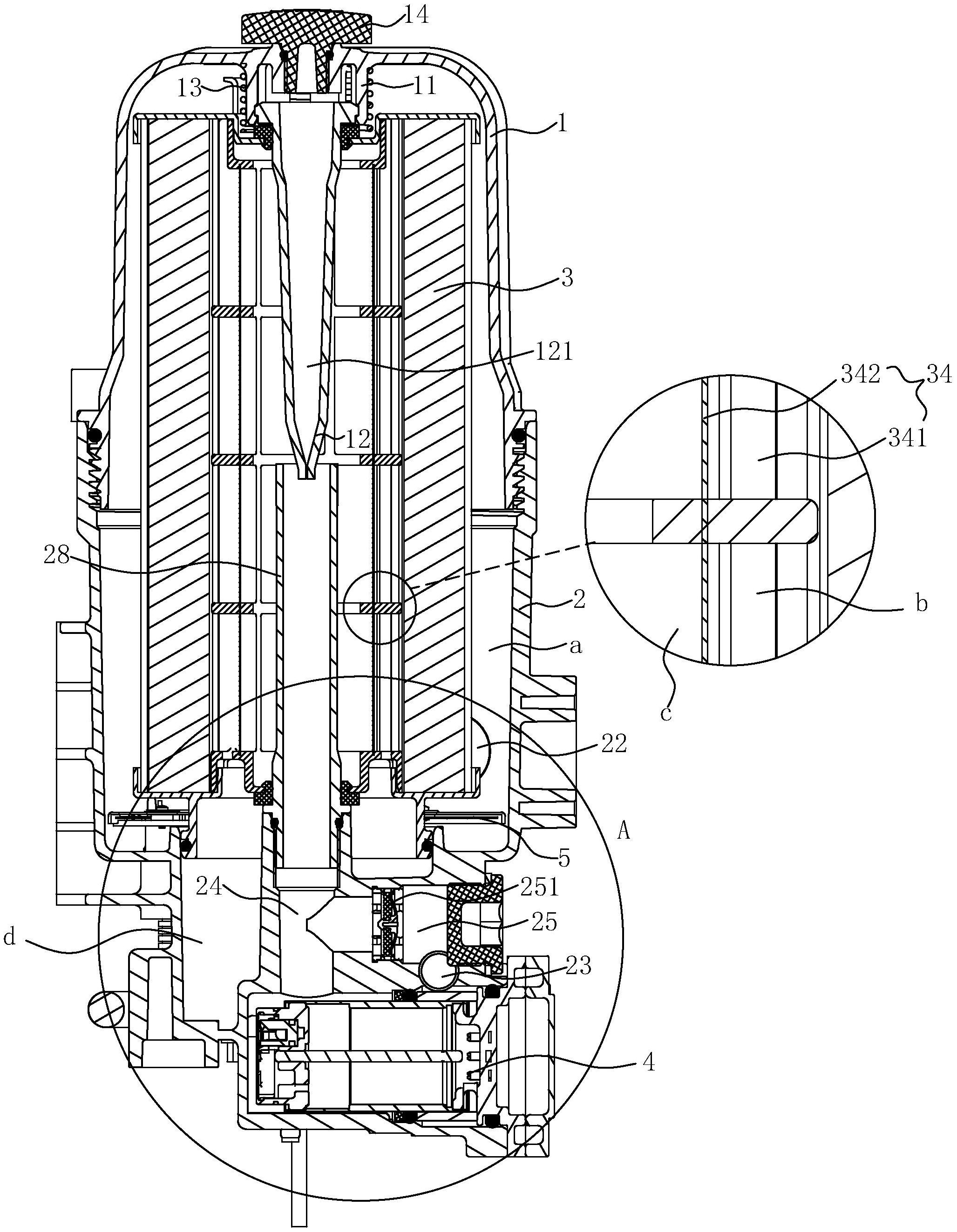
专利摘要:本实用新型提供了一种具有通用性的手动维护开关;该手动维护开关包括插座组件和插头组件;所述插座组件包括下壳体和插孔;插头组件包括上壳体、插针、上绝缘体和导连件;所述上绝缘体安装在上壳体的端部;两个插针安装在上绝缘体上;所述插针包括固定在一起的插接部和连接部;所述连接部包括横向延伸片和固定片;所述横向延伸片与插接部的端部连接;所述导连件的两端与两个插针的固定片分别固定并导通。本实用新型通过更换不同规格的插针和内衬套来即可匹配不同规格尺寸的熔断器,其他结构均可以针对不同规格的熔断器通用。本实用新型针提供了机加工、铜管冲制、金属片冲压或弯折等多种结构形式的插针,能够根据实际使用情况和要求快速匹配。

图片来源于网络,如有侵权,请联系删除
今年以来永贵电器新获得专利授权2个,与去年同期持平。结合公司2025年中报财务数据,2025上半年公司在研发方面投入了8028.82万元,同比增11.98%。

图片来源于网络,如有侵权,请联系删除
通过天眼查大数据分析,浙江永贵电器股份有限公司共对外投资了32家企业,参与招投标项目522次;财产线索方面有商标信息95条,专利信息154条,著作权信息2条;此外企业还拥有行政许可15个。
数据来源:天眼查APP
以上内容为证券之星据公开信息整理,由AI算法生成(网信算备310104345710301240019号),不构成投资建议。