京东方A获得发明专利授权:“母板、阵列基板及显示装置”
60046
2025月07月12日
证券之星消息,根据天眼查APP数据显示京东方A(000725)新获得一项发明专利授权,专利名为“母板、阵列基板及显示装置”,专利申请号为CN202310180629.8,授权日为2025年7月11日。

图片来源于网络,如有侵权,请联系删除
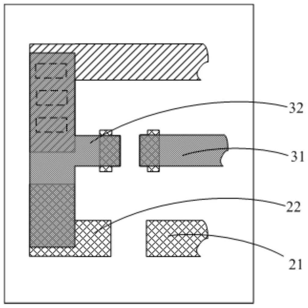
专利摘要:本公开提供的母板、阵列基板及显示装置,包括阵列排布的多个阵列基板,阵列基板包括显示区、位于显示区一侧的第一边框区、以及位于显示区远离第一边框区一侧的第二边框区,其中,第一边框区设置有多个点灯测试端子,第二边框区设置有多个连接孔,在列方向上相邻阵列基板的第一边框区的边界与第二边框区的边界重合;多条点灯测试线,与点灯测试端子耦接、并延伸至列方向上相邻阵列基板的第二边框区;多条阵列检测线,贯穿相邻两行显示区的行间隙、并与点灯测试线耦接,阵列检测线包括位于第二边框区的第一分部,第一分部包括并联设置的第一导电结构和第二导电结构,第一导电结构和第二导电结构中的至少之一包括多个岛状结构。

图片来源于网络,如有侵权,请联系删除
今年以来京东方A新获得专利授权2050个,较去年同期减少了0.82%。结合公司2024年年报财务数据,2024年公司在研发方面投入了131.23亿元,同比增15.94%。

图片来源于网络,如有侵权,请联系删除
数据来源:天眼查APP
以上内容为证券之星据公开信息整理,由AI算法生成(网信算备310104345710301240019号),不构成投资建议。