欣旺达获得实用新型专利授权:“一种折弯装置及电池生产设备”
证券之星消息,根据天眼查APP数据显示欣旺达(300207)新获得一项实用新型专利授权,专利名为“一种折弯装置及电池生产设备”,专利申请号为CN202422824841.6,授权日为2025年10月10日。

图片来源于网络,如有侵权,请联系删除
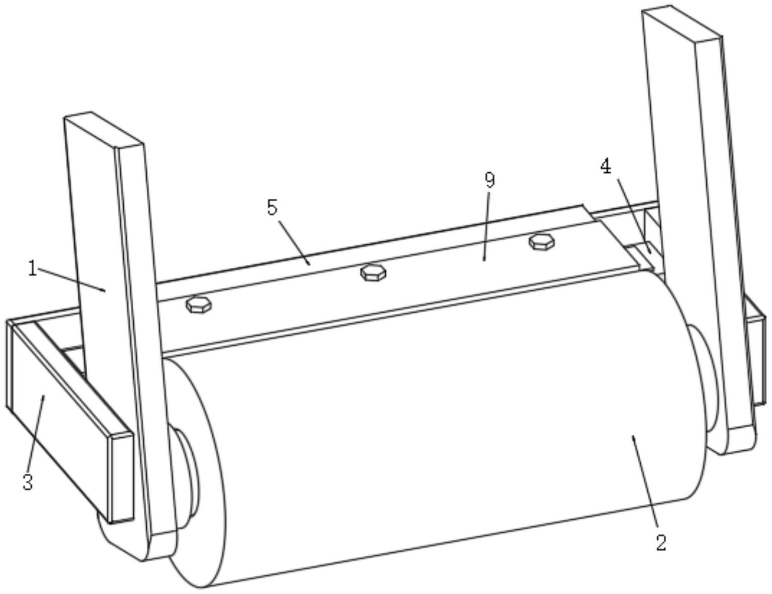
专利摘要:本申请公开了一种折弯装置及电池生产设备,属于电池制造技术领域,本申请的折弯装置,用于折弯极耳,折弯装置具有相交的第一方向与第二方向,包括:底座、立架、下压组件及弯折组件;立架设置于底座上;下压组件设置于立架上,下压组件包括相连的第一移动件和压块,第一移动件用于驱动压块固定至少部分极耳;弯折组件设置于立架上,并与下压组件沿第一方向排布,弯折组件包括相连的第二移动件和压辊,压辊与压块沿第二方向排布,压辊与第二移动件转动连接,第二移动件用于驱动压辊朝向压块移动,以带动极耳朝向压块靠近压辊的一侧弯折。通过压辊弯折极耳,压辊施压时与极耳保持相对移动,避免极耳发生形变、压伤或断裂,提高极耳弯折良率。

图片来源于网络,如有侵权,请联系删除
今年以来欣旺达新获得专利授权177个,较去年同期增加了103.45%。结合公司2025年中报财务数据,今年上半年公司在研发方面投入了19.24亿元,同比增35.23%。

图片来源于网络,如有侵权,请联系删除
通过天眼查大数据分析,欣旺达电子股份有限公司共对外投资了32家企业,参与招投标项目87次;财产线索方面有商标信息171条,专利信息723条,著作权信息120条;此外企业还拥有行政许可344个。
数据来源:天眼查APP
以上内容为证券之星据公开信息整理,由AI算法生成(网信算备310104345710301240019号),不构成投资建议。