兆威机电获得发明专利授权:“单向传动结构”
64773
2025月08月16日
证券之星消息,根据天眼查APP数据显示兆威机电(003021)新获得一项发明专利授权,专利名为“单向传动结构”,专利申请号为CN202010317057.X,授权日为2025年8月15日。

图片来源于网络,如有侵权,请联系删除
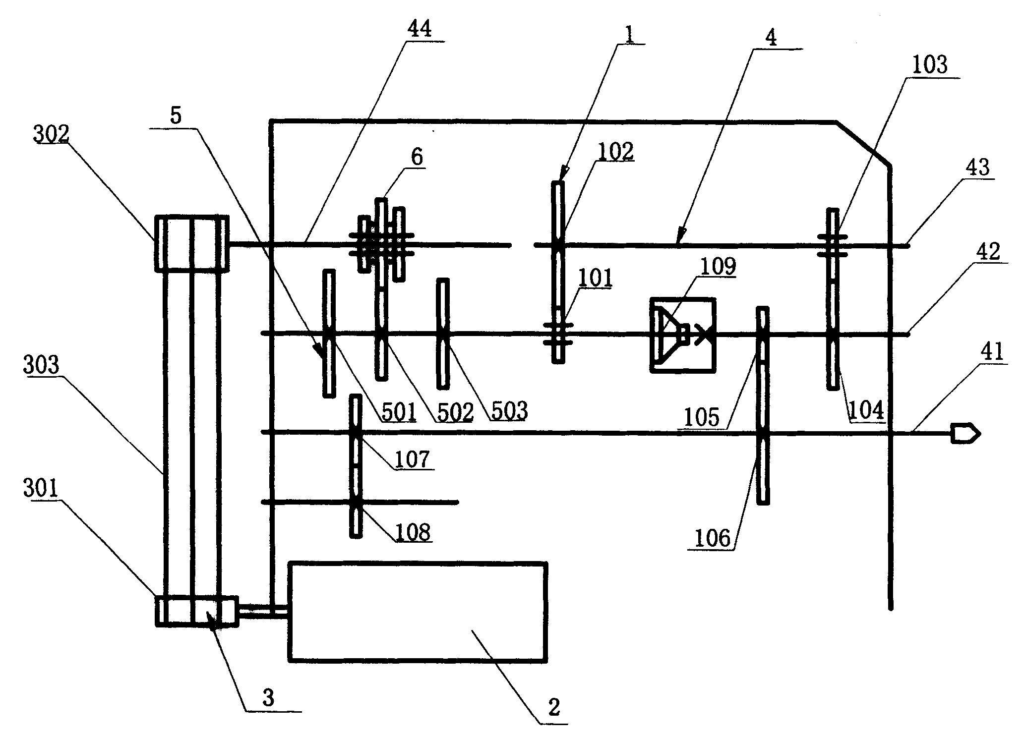
专利摘要:本发明适用于离合器领域,提供了一种单向传动结构,包括输入转轮、保持架、输出转轮、连接轴和传动件;所述输入转轮、所述保持架和所述输出转轮均套接所述连接轴并顺次排列且均以所述连接轴为旋转轴转动;所述输入转轮具有向所述保持架倾斜的抵持壁,所述保持架开设有容置孔,所述传动件至少有一个,并分别对应置于一所述容置孔内,所述输出转轮转动时,所述抵持壁能够抵压所述传动件以使所述传动件抵压所述输出转轮。本发明提供的单向传动结构,能够实现输入转轮和输出转轮之间的单向传动,结构紧凑、精巧,装配简单并具有更好的传动稳定性。
今年以来兆威机电新获得专利授权34个,较去年同期减少了27.66%。结合公司2024年年报财务数据,2024年公司在研发方面投入了1.55亿元,同比增20.53%。
通过天眼查大数据分析,深圳市兆威机电股份有限公司共对外投资了8家企业,参与招投标项目22次;财产线索方面有商标信息143条,专利信息571条,著作权信息53条;此外企业还拥有行政许可53个。
数据来源:天眼查APP
以上内容为证券之星据公开信息整理,由AI算法生成(网信算备310104345710301240019号),不构成投资建议。